Tillers FG FG100 FG100 A FZCV-6000001-9999999 TOOLS - Tools For A Time

Ref No
Part Number
Description
Serial Range
Qty
Price

Ref No
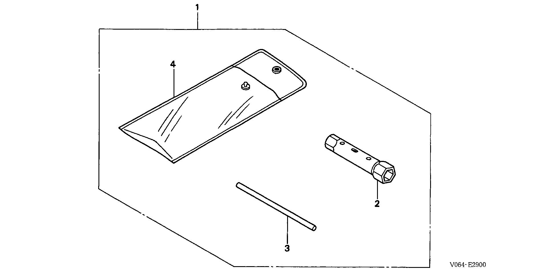
1
Part Number
89000-ZM3-000
Description
TOOL KIT (NOT AVAILABLE)
Serial Range
1000001 - 9999999

Ref No
2
Part Number
89216-045-010
Description
WRENCH, SPARK PLUG
Serial Range
1000001 - 9999999
Qty
Price
$8.40

Ref No
3
Part Number
99005-01000
Description
BAR A, HANDLE
Serial Range
1000001 - 9999999
Qty
Price
$1.54

Ref No
4
Part Number
99008-01600
Description
BAG, TOOL (160MM)
Serial Range
1000001 - 9999999
Qty
Price
$2.92