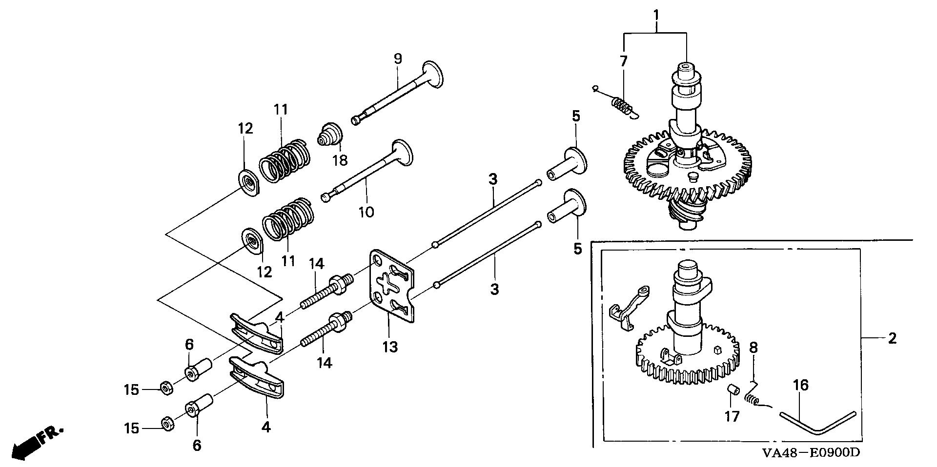
Lawn Mowers HRC HRC216 HRC216K1 HXA MZAN-6100001-6176480 CAMSHAFT - Tools For A Time

Ref No
Part Number
Description
Serial Range
Qty
Price

Ref No
1
Part Number
14100-ZE7-N40
Description
CAMSHAFT ASSY.
Serial Range
1000001 - 9999999
Qty
Price
$181.70

Ref No
3
Part Number
14410-ZE1-010
Description
ROD, PUSH
Serial Range
1000001 - 9999999
Qty
Price
$8.30

Ref No
4
Part Number
14431-ZE1-000
Description
ARM, VALVE ROCKER
Serial Range
1000001 - 9999999
Qty
Price
$7.36

Ref No
5
Part Number
14441-ZE1-010
Description
LIFTER, VALVE
Serial Range
1363416 - 9999999
Qty
Price
$14.06

Ref No
6
Part Number
14451-Z4M-000
Description
PIVOT, ROCKER ARM
Serial Range
1000001 - 9999999
Qty
Price
$6.16

Ref No
7
Part Number
14568-ZE1-000
Description
SPRING, WEIGHT RETURN
Serial Range
1000001 - 9999999
Qty
Price
$3.24

Ref No
9
Part Number
14711-ZE7-000
Description
VALVE, IN.
Serial Range
1000001 - 9999999
Qty
Price
$20.24

Ref No
9
Part Number
14711-ZF1-000
Description
VALVE, IN.
Serial Range
1000001 - 9999999
Qty
Price
$20.24

Ref No
10
Part Number
14721-ZE7-000
Description
VALVE, EX.
Serial Range
1000001 - 9999999
Qty
Price
$34.54

Ref No
11
Part Number
14751-ZE1-000
Description
SPRING, VALVE
Serial Range
1000001 - 9999999
Qty
Price
$3.58

Ref No
12
Part Number
14771-Z0T-900
Description
RETAINER, VALVE SPRING
Serial Range
1000001 - 9999999
Qty
Price
$1.20

Ref No
13
Part Number
14791-ZE1-010
Description
PLATE, PUSH ROD GUIDE
Serial Range
1000001 - 9999999
Qty
Price
$3.96

Ref No
14
Part Number
90012-ZE0-010
Description
BOLT, PIVOT (8MM)
Serial Range
1000001 - 9999999
Qty
Price
$8.18

Ref No
15
Part Number
90206-ZE1-000
Description
NUT, PIVOT ADJUSTING
Serial Range
1000001 - 9999999

Ref No
18
Part Number
12209-ZE6-003
Description
SEAL, VALVE STEM
Serial Range
7663556 - 9999999
Qty
Price
$4.34