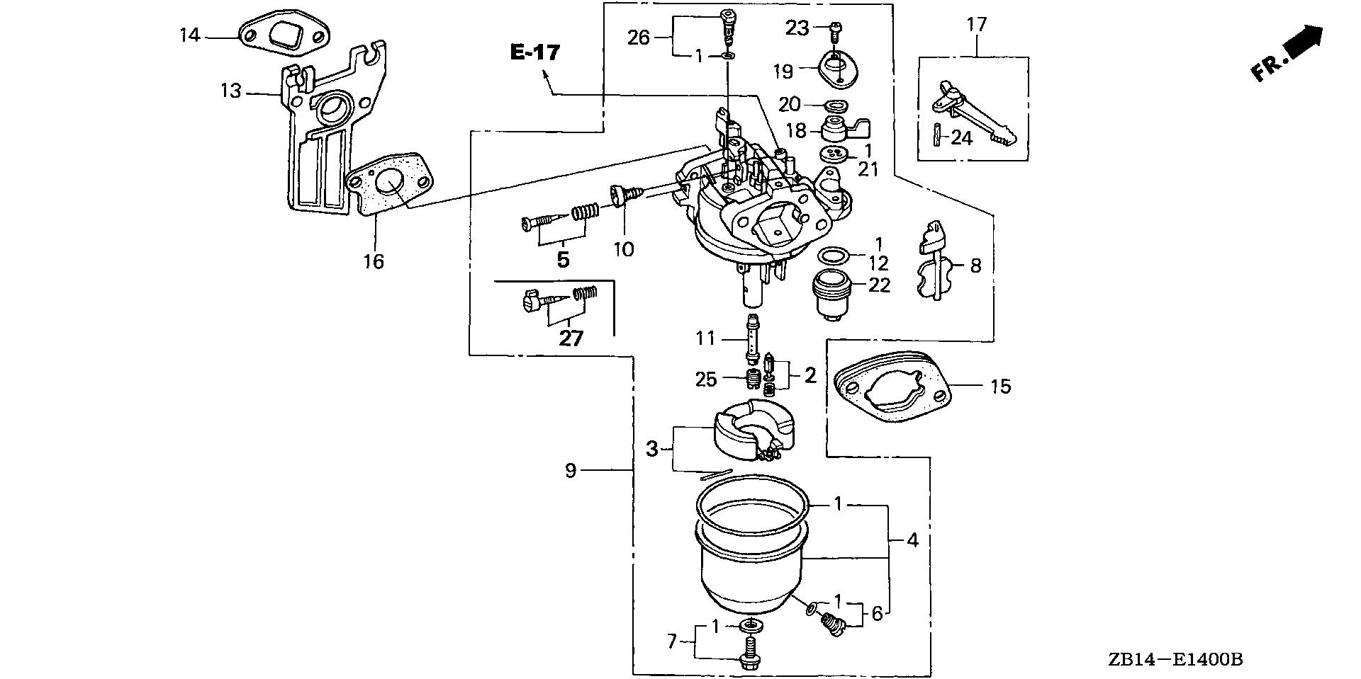
Generators EG EG1400 EG1400X A GX110-1000001-2454428 CARBURETOR - Tools For A Time

Ref No
Part Number
Description
Serial Range
Qty
Price

Ref No
1
Part Number
16010-ZE0-811
Description
GASKET SET (CARBURETOR NO.)
Serial Range
1000001 - 9999999

Ref No
1
Part Number
16010-ZE1-811
Description
GASKET SET (CARBURETOR NO.)
Serial Range
1000001 - 9999999

Ref No
1
Part Number
16010-ZE1-812
Description
GASKET SET (CARBURETOR NO.)
Serial Range
1000001 - 9999999

Ref No
2
Part Number
16011-ZE0-005
Description
VALVE SET, FLOAT (SEAT NOT INCLUDED)
Serial Range
1000001 - 9999999
Qty
Price
$28.48

Ref No
3
Part Number
16013-ZE0-005
Description
FLOAT SET
Serial Range
1000001 - 9999999
Qty
Price
$29.86

Ref No
4
Part Number
16015-ZE0-831
Description
CHAMBER SET, FLOAT (CARBURETOR NO.)
Serial Range
1000001 - 9999999
Qty
Price
$36.34

Ref No
4
Part Number
16015-ZE1-811
Description
CHAMBER SET, FLOAT (CARBURETOR NO.)
Serial Range
1000001 - 9999999
Qty
Price
$36.34

Ref No
5
Part Number
16016-ZE0-005
Description
SCREW SET, PILOT
Serial Range
1000001 - 9999999
Qty
Price
$14.66

Ref No
6
Part Number
16024-890-731
Description
SCREW SET, DRAIN (CARBURETOR NO.) (NOT AVAILABLE)
Serial Range
1000001 - 9999999

Ref No
6
Part Number
16024-ZE1-811
Description
SCREW SET, DRAIN (CARBURETOR NO.)
Serial Range
1000001 - 9999999
Qty
Price
$10.28

Ref No
7
Part Number
16028-ZE0-005
Description
SCREW SET
Serial Range
1000001 - 9999999

Ref No
7
Part Number
16028-ZK7-S91
Description
SCREW SET
Serial Range
1000001 - 9999999
Qty
Price
$13.14

Ref No
8
Part Number
16044-733-005
Description
CHOKE SET (NOT AVAILABLE)
Serial Range
1000001 - 9999999

Ref No
9
Part Number
16100-ZE0-814
Description
CARBURETOR ASSY. (BE01B D) (NOT AVAILABLE)
Serial Range
1000001 - 1289940

Ref No
9
Part Number
16100-ZE0-817
Description
CARBURETOR ASSY. (BE01B G) (W/STRAINER)
Serial Range
1289941 - 9999999
Qty
Price
$103.67

Ref No
10
Part Number
16124-ZE0-005
Description
SCREW, THROTTLE STOP
Serial Range
1000001 - 9999999
Qty
Price
$17.88

Ref No
11
Part Number
16166-ZE0-005
Description
NOZZLE, MAIN (CARBURETOR NO.) (NOT AVAILABLE)
Serial Range
1000001 - 9999999

Ref No
11
Part Number
16166-ZE0-015
Description
NOZZLE, MAIN (CARBURETOR NO.) (NOT AVAILABLE)
Serial Range
1000001 - 9999999

Ref No
12
Part Number
16173-001-004
Description
O-RING
Serial Range
1000001 - 9999999

Ref No
13
Part Number
16211-ZE0-000
Description
INSULATOR, CARBURETOR
Serial Range
1000001 - 9999999
Qty
Price
$19.42

Ref No
14
Part Number
16212-ZE0-800
Description
GASKET, INSULATOR
Serial Range
1000001 - 9999999
Qty
Price
$3.48

Ref No
15
Part Number
16220-ZE1-000
Description
SPACER, CARBURETOR
Serial Range
1000001 - 1549317

Ref No
15
Part Number
16220-ZE1-020
Description
SPACER, CARBURETOR
Serial Range
1549318 - 9999999

Ref No
16
Part Number
16221-ZE0-306
Description
GASKET, CARBURETOR
Serial Range
1000001 - 9999999

Ref No
16
Part Number
16221-ZH8-801
Description
GASKET, CARBURETOR
Serial Range
1000001 - 9999999
Qty
Price
$2.30

Ref No
17
Part Number
16610-ZE1-000
Description
LEVER, CHOKE (STD)
Serial Range
1000001 - 9999999
Qty
Price
$10.44

Ref No
18
Part Number
16953-ZE1-406
Description
LEVER, VALVE
Serial Range
1000001 - 9999999
Qty
Price
$13.80

Ref No
19
Part Number
16954-ZE1-812
Description
PLATE, LEVER SETTING
Serial Range
1000001 - 9999999
Qty
Price
$4.16

Ref No
20
Part Number
16956-ZE1-811
Description
SPRING, PETCOCK LEVER (CARBURETOR NO.)
Serial Range
1000001 - 9999999
Qty
Price
$4.16

Ref No
21
Part Number
16957-ZE1-811
Description
GASKET, PETCOCK (CARBURETOR NO.)
Serial Range
1000001 - 9999999

Ref No
21
Part Number
16957-ZE1-812
Description
GASKET, PETCOCK (CARBURETOR NO.)
Serial Range
1000001 - 9999999
Qty
Price
$4.12

Ref No
22
Part Number
16967-ZE0-811
Description
CUP, FUEL STRAINER
Serial Range
1000001 - 9999999
Qty
Price
$21.64

Ref No
23
Part Number
93500-03008-0H
Description
SCREW, PAN (3X8) (CARBURETOR NO.)
Serial Range
1000001 - 9999999
Qty
Price
$0.90

Ref No
23
Part Number
93500-03008-1G
Description
SCREW, PAN (3X8) (CARBURETOR NO.)
Serial Range
1000001 - 9999999

Ref No
24
Part Number
94305-20122
Description
PIN, SPRING (2X12)
Serial Range
1000001 - 9999999
Qty
Price
$2.12

Ref No
25
Part Number
99101-124-0550
Description
JET, MAIN (#55)
Serial Range
1000001 - 9999999
Qty
Price
$11.60

Ref No
25
Part Number
99101-124-0580
Description
JET, MAIN (#58)
Serial Range
1000001 - 9999999
Qty
Price
$10.98

Ref No
25
Part Number
99101-124-0600
Description
JET, MAIN (#60) (CARBURETOR NO.)
Serial Range
1000001 - 9999999
Qty
Price
$12.26

Ref No
25
Part Number
99101-124-0620
Description
JET, MAIN (#62) (CARBURETOR NO.)
Serial Range
1000001 - 9999999
Qty
Price
$10.98

Ref No
26
Part Number
99204-ZE0-0350
Description
JET SET, PILOT (#35)
Serial Range
1000001 - 9999999
Qty
Price
$22.50